Box für 8 BJC T-13 Module
Marke: BJC
Referenz: T-13
Beschreibung
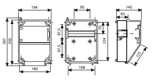
250x194x140mm TCP Box mit Kapazität für 8 17,5mm Module
Marke: BJC
Referenz: T-13
250x194x140mm TCP Box mit Kapazität für 8 17,5mm Module
Modelle mit größerer Kapazität.
• Praktisches Öffnungs- und Schließsystem mit zu öffnender transparenter Abdeckung, mit der Möglichkeit, die Öffnungsart zu ändern (rechts und links oder links nach rechts).
• Möglichkeit der Sicherheitsschließung mittels Zubehör T-10.
• Frontplattenbefestigung durch große Isolierschrauben, leicht zugänglich.
• Fenster der Frontplatte mit einer größeren Oberfläche und mit leicht zuschneidbaren Modulplatten bedeckt, die die Verwendung der erforderlichen Module ermöglichen und die Baugruppe immer geschlossen lassen.
• Verschließbare Dose.
• Höhenverstellbare Profilschienen durch gestufte ABS-Abstandshalter.
• Einfaches Anschließen von Modulen am Gleisprofil.